男科频道 找医院 查疾病 养生 找药品 健康导购
早泄 皮肤补水 白癜风 雀斑 癫痫 高血压 肝硬化 青光眼 尿毒症 腹泻 腰肌劳损 预防肝癌 牙龈肿痛 改善哮喘 痛经 前列腺炎 广告

诺氟沙星、感冒灵胶囊等一批畅销药不合格

2019-09-19 16:30 来源:温酒醉人
核心提示:医药网8月12日讯 这些厂家生产的畅销药不能用了,诺氟沙星、感冒灵胶囊……  近期,有不少地区发出通告,这些厂家生产的畅销药被查不合格,大家赶紧排查。  一批畅销药被叫停,诺氟沙星胶囊再曝不合格  8月5日,内蒙

  医药网8月12日讯 这些厂家生产的畅销药不能用了,诺氟沙星、感冒灵胶囊……

 

  近期,有不少地区发出通告,这些厂家生产的畅销药被查不合格,大家赶紧排查。

 

  一批畅销药被叫停,诺氟沙星胶囊再曝不合格

 

  8月5日,内蒙古自治区卫健委官网发布《关于暂停诺氟沙星胶囊等抽检不合格药品交易资格的通知》。

 

 

  根据自治区食药监局和自治区卫生计生委联合发布的《关于加强药品医用耗材质量安全监管有关事项的通知》(内食药监〔2017〕259号)及2019年7月国家食药总局网站发布的各省药品抽检不符合标准规定药品名单。

 

  贵州百灵企业集团正鑫药业有限公司生产的诺氟沙星胶囊(药品编码:GDH071138)、吉林龙泰制药股份有限公司生产的感冒灵胶囊(药品编码:110103)在该区的交易资格被暂停。

 

  天津查出不合格药品,诺氟沙星胶囊、海金沙..……8月2日,天津市市场监督管理委员会发布《天津市药品质量公告(2019年第1期,总第36期)》,公布一批不合格药品名单,诺氟沙星胶囊位列其中。

 

 

  除此之外,海金沙、炒酸枣仁、白花蛇舌草、炒桃仁、地龙、砂仁等大批中成药也被查不合格。

 

  据了解,辽宁华瑞联合制药有限公司生产的诺氟沙星胶囊在2018年12月至今,至少5次被检测出不合格,且不合格项目均为溶出度。

 

  诺氟沙星胶囊是一款主要针对肠道和泌尿道感染的消炎药,也是基层常用的畅销药,近年来频频被查不合格,不仅有失生产厂家在基层市场的公信度,也给用药人群带来很大的风险。基层医疗机构须配合相关部门进行紧急排查,进一步减少给机构和患者带来的损失。

 

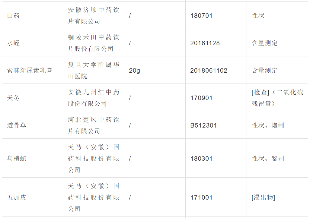
  快排查相应批次,这42种药不能用了

 

  小社整理了近期被爆出不合格的药品共计42种,饮片占绝大多数,其中诺氟沙星胶囊、当归、地龙、骨碎补、海金沙、麦冬、全蝎、桑寄生、盐杜仲、远志(制远志)、皂角刺被查出至少两次,大家赶紧对照下表排查!

 

载此文出于传递更多信息之目的,并不意味着赞同其观点或证实其描述。文章内容仅供参考,具体治疗及选购请咨询医生或相关专业人士。如发现本站有涉嫌抄袭侵权/违法违规的内容,请发送邮件至zhuoyunkang2023@163.com举报,一经查实,本站将立刻删除。

男性健康 健康导购
大家关注
最新热点一周热点